Forrich Mechanics CO., LTD
  • О НАС
  • ПРОДУКТЫ
    • ШЛИФОВАЛЬНЫЕ СТАНКИ
    • РЕБРОСКЛЕИВАНИЕ ШПОНА
    • ХОЛОДНОЕ ПРЕССОВАНИЕ
    • КЛЕЕВЫЕ ВАЛЬЦЫ
    • ФОРМАТНЫЕ ОБРЕЗКИ
    • КАНТОВАТЕЛИ
    • ОКОРОЧНЫЕ СТАНКИ
    • БЕСШПИНДЕЛЬНОЕ ЛУЩЕНИЕ
    • ДЕЛИТЕЛЬНЫЕ ПИЛЫ
    • СУШКА ШПОНА
    • АВТОМАТИЧЕСКАЯ СТОПОУКЛАДКА
    • АВТОМАТИЧЕСКАЯ ЗАГРУЗКА
  • НОВОСТИ
  • РЕФЕРЕНС
  • КОНТАКТЫ
  • RU
    • EN
    • 中文
Forrich Mechanics CO., LTD
RU
  • EN
  • 中文
  • ГЛАВНАЯ
  • >
  • ПРОДУКТЫ
  • >
  • ХОЛОДНОЕ ПРЕССОВАНИЕ
ПРОДУКТЫ
  • ШЛИФОВАЛЬНЫЕ СТАНКИ
  • РЕБРОСКЛЕИВАНИЕ ШПОНА
  • ХОЛОДНОЕ ПРЕССОВАНИЕ
  • КЛЕЕВЫЕ ВАЛЬЦЫ
  • ФОРМАТНЫЕ ОБРЕЗКИ
  • КАНТОВАТЕЛИ
  • ОКОРОЧНЫЕ СТАНКИ
  • БЕСШПИНДЕЛЬНОЕ ЛУЩЕНИЕ
  • ДЕЛИТЕЛЬНЫЕ ПИЛЫ
  • СУШКА ШПОНА
  • АВТОМАТИЧЕСКАЯ СТОПОУКЛАДКА
  • АВТОМАТИЧЕСКАЯ ЗАГРУЗКА
Forrich

4-пролётный холодный пресс

4-пролётный холодный пресс

4-пролётный холодный пресс

4-пролётный холодный пресс


  • Очень прочная конструкция холодного пресса обеспечивает максимальную стабильность без деформации.
  • Шток поршня изготовлен с высокой точностью из белого чугуна, что значительно повышает износостойкость.
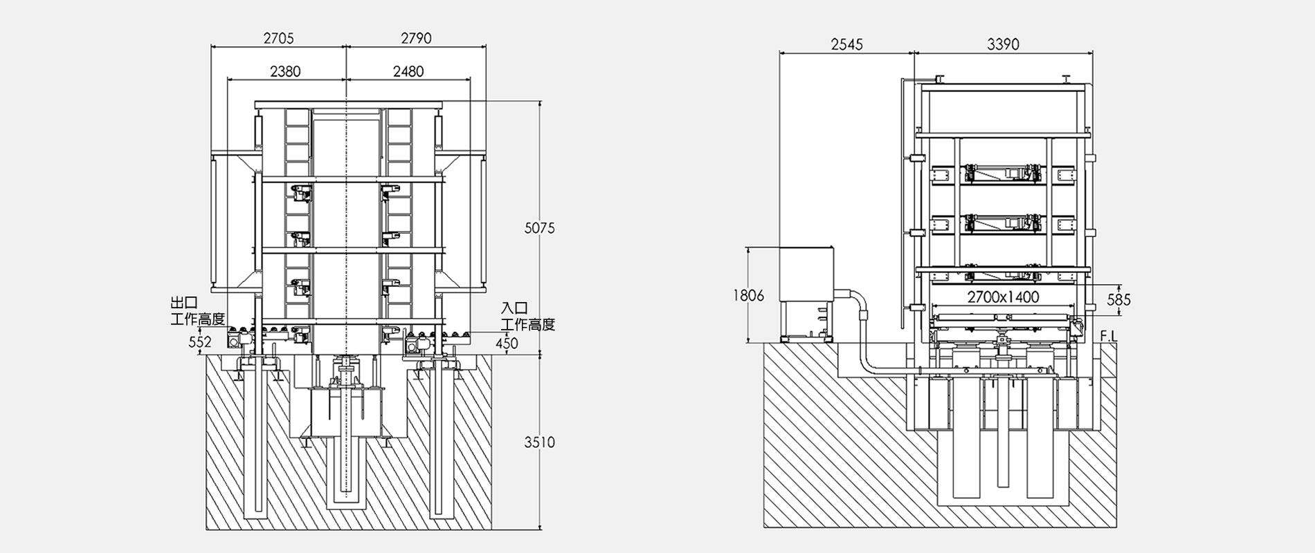
ГАБАРИТНЫЙ ЧЕРТЕЖ
4-пролётный холодный пресс

4-пролётный холодный пресс

ГАБАРИТНЫЙ ЧЕРТЕЖ

4-пролётный холодный пресс

4-пролётный холодный пресс

СПЕЦИФИКАЦИЯ

МОДЕЛЬ 4-пролётный холодный пресс
Размер плит 1350 х 2700 х 250 мм х 4шт.
Размер пакета шпона 4’ х 8’
Производительность 500 тон
Среднее давление 16,8 кг/см2
Главный поршень 375 мм х 2 шт.
Подъёмный цилиндр 80мм х 2 шт.
Пролёт 550 мм
Макс. ход 900 мм
Скорость смыкания/размыкания плит 5000 мм/мин
Скорость прессования 150 мм/мин
Двигатель гидромотора 11 кВт х 6P
Двигатель конвейера 1,5 кВт х 4P

КОМПЛЕКСНЫЕ РЕШЕНИЯ ПО ПРОИЗВОДСТВУ ФАНЕРЫ

СВЯЗАТЬСЯ С НАМИ
Forrich

ПРОДУКТЫ

ШЛИФОВАЛЬНЫЕ СТАНКИ

ШЛИФОВАЛЬНЫЕ СТАНКИ


БОЛЕЕ

РЕБРОСКЛЕИВАНИЕ ШПОНА

РЕБРОСКЛЕИВАНИЕ ШПОНА


БОЛЕЕ

ХОЛОДНОЕ ПРЕССОВАНИЕ

ХОЛОДНОЕ ПРЕССОВАНИЕ


БОЛЕЕ

КЛЕЕВЫЕ ВАЛЬЦЫ

КЛЕЕВЫЕ ВАЛЬЦЫ


БОЛЕЕ

ФОРМАТНЫЕ ОБРЕЗКИ

ФОРМАТНЫЕ ОБРЕЗКИ


БОЛЕЕ

КАНТОВАТЕЛИ

КАНТОВАТЕЛИ


БОЛЕЕ

ОКОРОЧНЫЕ СТАНКИ

ОКОРОЧНЫЕ СТАНКИ


БОЛЕЕ

БЕСШПИНДЕЛЬНОЕ ЛУЩЕНИЕ

БЕСШПИНДЕЛЬНОЕ ЛУЩЕНИЕ


БОЛЕЕ

ДЕЛИТЕЛЬНЫЕ ПИЛЫ

ДЕЛИТЕЛЬНЫЕ ПИЛЫ


БОЛЕЕ

Dryer

Dryer


БОЛЕЕ

АВТОМАТИЧЕСКАЯ СТОПОУКЛАДКА

АВТОМАТИЧЕСКАЯ СТОПОУКЛАДКА


БОЛЕЕ

АВТОМАТИЧЕСКАЯ ЗАГРУЗКА

АВТОМАТИЧЕСКАЯ ЗАГРУЗКА


БОЛЕЕ

  • ШЛИФОВАЛЬНЫЕ СТАНКИ
  • РЕБРОСКЛЕИВАНИЕ ШПОНА
  • ХОЛОДНОЕ ПРЕССОВАНИЕ
  • КЛЕЕВЫЕ ВАЛЬЦЫ
  • ФОРМАТНЫЕ ОБРЕЗКИ
  • КАНТОВАТЕЛИ
  • ОКОРОЧНЫЕ СТАНКИ
  • БЕСШПИНДЕЛЬНОЕ ЛУЩЕНИЕ
  • ДЕЛИТЕЛЬНЫЕ ПИЛЫ
  • СУШКА ШПОНА
  • АВТОМАТИЧЕСКАЯ СТОПОУКЛАДКА
  • АВТОМАТИЧЕСКАЯ ЗАГРУЗКА

+886-7-6104705


+886-7-6104708


forrichtd@forrich.com.tw


Тайвань, г. Гаосюн, Цзу Гуань Сян, Северное шоссе Цзи Гань, переулок 652, здание 49.

© Copyright Forrich All Rights Reserved. Design by CYnet

line
  • ГЛАВНАЯ
  • О НАС
  • ПРОДУКТЫ
    • ШЛИФОВАЛЬНЫЕ СТАНКИ
    • РЕБРОСКЛЕИВАНИЕ ШПОНА
    • ХОЛОДНОЕ ПРЕССОВАНИЕ
    • КЛЕЕВЫЕ ВАЛЬЦЫ
    • ФОРМАТНЫЕ ОБРЕЗКИ
    • КАНТОВАТЕЛИ
    • ОКОРОЧНЫЕ СТАНКИ
    • БЕСШПИНДЕЛЬНОЕ ЛУЩЕНИЕ
    • ДЕЛИТЕЛЬНЫЕ ПИЛЫ
    • СУШКА ШПОНА
    • АВТОМАТИЧЕСКАЯ СТОПОУКЛАДКА
    • АВТОМАТИЧЕСКАЯ ЗАГРУЗКА
  • НОВОСТИ
  • РЕФЕРЕНС
  • КОНТАКТЫ